WhatsApp/Wechat:+86 15922636221

You are here: Home » Products » Marine Environmental Protection Equipment » 15ppm Bilge Alarm » 15ppm Bilge Alarm Oil In Water Monitor

PRODUCT CATEGORY

loading

Share to:
facebook sharing button
twitter sharing button
line sharing button
wechat sharing button
linkedin sharing button
pinterest sharing button
sharethis sharing button

15ppm Bilge Alarm Oil In Water Monitor

15ppm Bilge Alarm Oil In Water Monitor is used to detect and measure oil content in water. OCM use a range of measurement technologies to suit different application, Such as for the continuous detection of oil and sewage in the bilge of ship, and monitoring of oily waste water in the fields of chemical industry, petroleum and environmental protection.
Quantity:
15ppm Bilge Alarm Oil In Water Monitor
15ppm Bilge Alarm can display measurement result, set 15ppm warning value, 
output analog signal of sewage standard discharge control total amount to measurement value, and provide these services including data print, storing and inquiry of historical data etc.
Besides,15ppm bilge water alarm instrument can record date, time, alarming state and running state.
15ppm Bilge alarm (5)15ppm Bilge alarm (15)99ppm Bilge alarm 1

Performance parameters   
Measurement range:    30ppm(When the measured sample water concentration is over 40ppm, digital pipe begins to show 80ppm).
Measurement precision:           ±5ppm
Alarm indication:                     two emitting LED
Concentration value display:     3-bit LED
Alarm point:                              15ppm 
Load of contact of alarm relay:  5A/220V
Output analog signal:                4~20mA or 0~10V DC   
Feed liquid Pressure:                 0.01~0.5MPa
Weight:                                     about 13.5Kg
Power supply:                             AC220±10% 50Hz±5%
Power consumption:                  20W
Safeguard grade:                       IP45 
Operational environment:   0~55℃, relative humidity 95~100%, normal
 
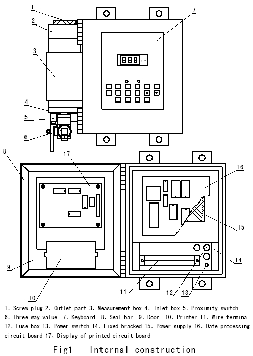
Structure
Inside detailed structure of 15ppm oil-in-water monitoring
15ppm bilge alarm

Previous: 
Next: 
Product Inquiry

Navigation

Product List

Navigation

Contact Us

Tel: 0086-023-62984891
Fax: 0086-023-62613622
WhatsApp/Mob:0086 15922636221
E-mail: master@hy-industry.com

 
Copyright © 2020 Gathering Marine Equipment Co., Ltd.   Powered by Leadong